










Shrink Fit Threaded Adapters, Ultra-Slim Desgin (MCS), Imperial (inch)
- MCS means ultra-slim design
- Designed with metric system (mm)
- Made of stainless steel
- High rigidity
- High precision ≤ 3 µm (0.0001")
- Long tool life with over 3000 heat shrink cycles
- Heat resistance up to 720°C
- Excellent rust resistance
- High thermal expansion coefficient

Before/after
Unlock new versatility in your machining operations with HIPPSC Shrink Fit Threaded Adapter.

Before

After
Learn more
Features
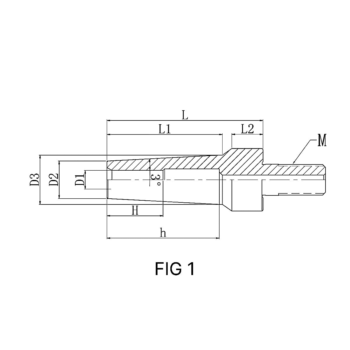
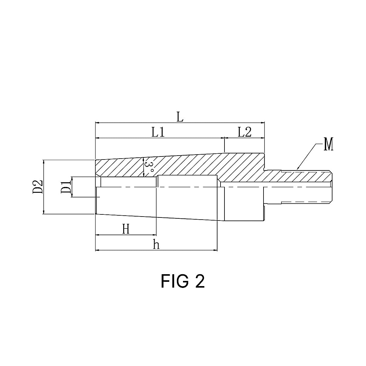
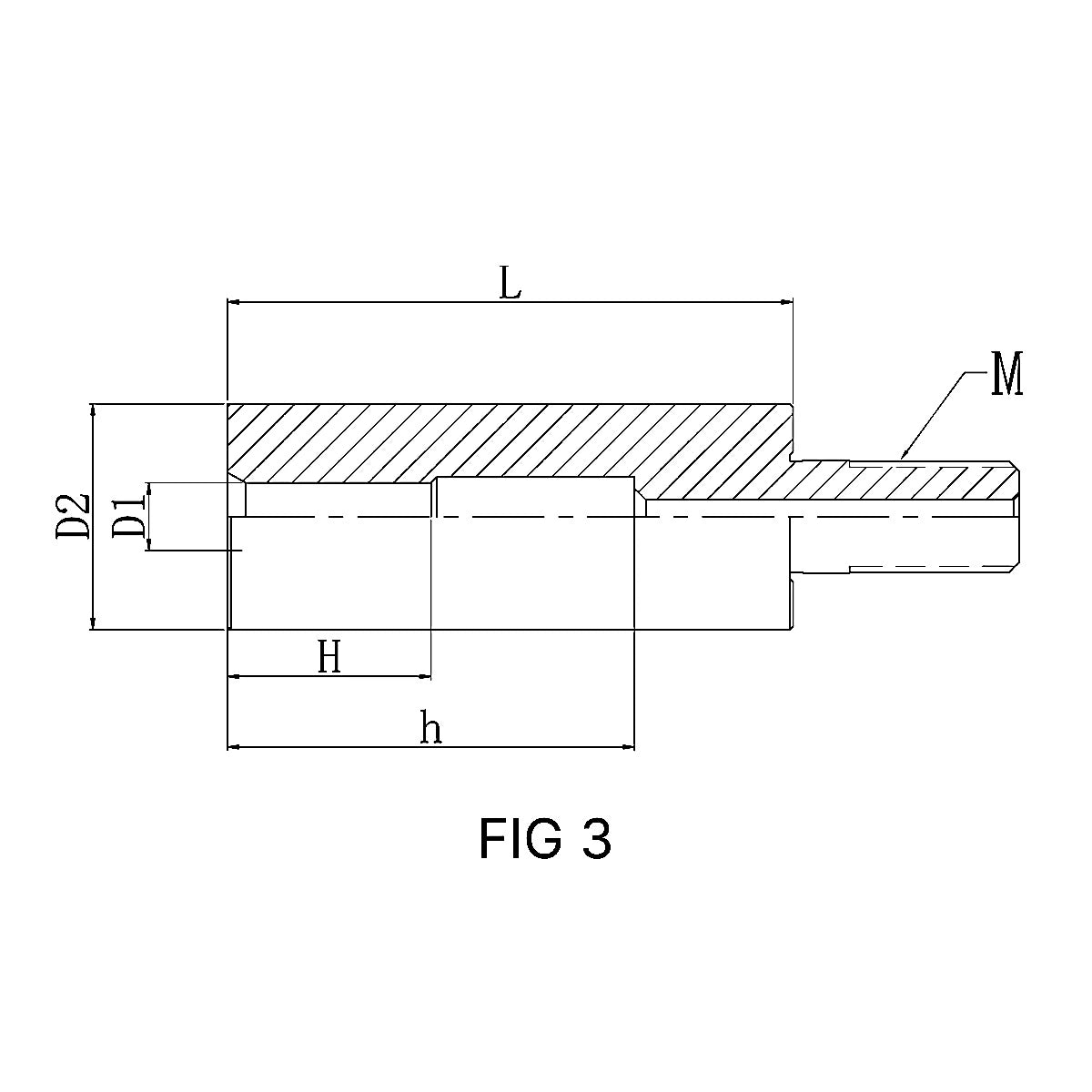
Designed to convert your replaceable tip milling shank or any threaded shank into a precision shrink fit shank, offering seamless compatibility with straight shank end mills.
Crafted from premium stainless steel with a hardness rating (HRC) optimized for durability and wear resistance, this Shrink Fit Threaded Adapter is built for longevity. The heat-resistant properties of the material allow it to withstand extreme temperatures up to 720°C or 1328°F, ensuring consistent performance over 3000+ heat shrink cycles.
Easily convert your threaded shank into a shrink fit shank with our Shrink Fit Threaded Adapter. Streamline your tool inventory and reduce costs by adapting existing tools for shrink fit applications, eliminating the need for additional specialized tools without sacrificing precision or performance.
Tech Specs
Other technical specifications.
Shrink Fit Threaded Adapter
Stainless Steel
Ultra-Slim Desgin (MCS)
≤ 3 µm (0.0001")
Solid carbide and HSS
All Product Variants
| SKU | Nose Diameter (D2) - Thread (M) | Bore Diameter (D1) | Length (L) | Price | Quantity | Add to Cart |
|---|






